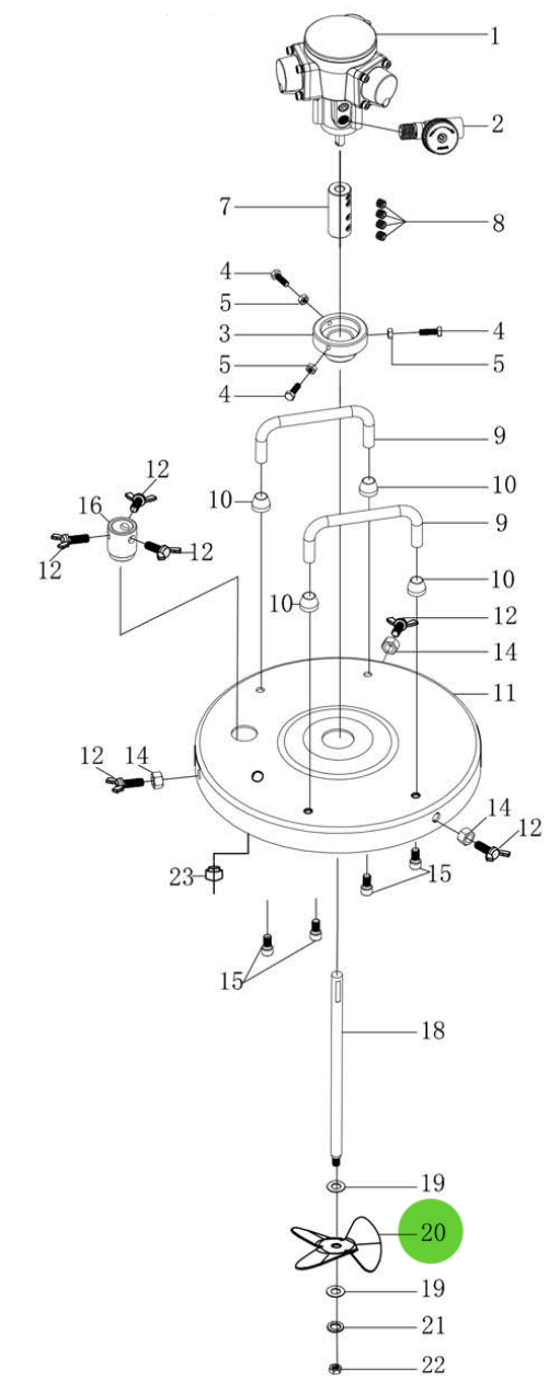
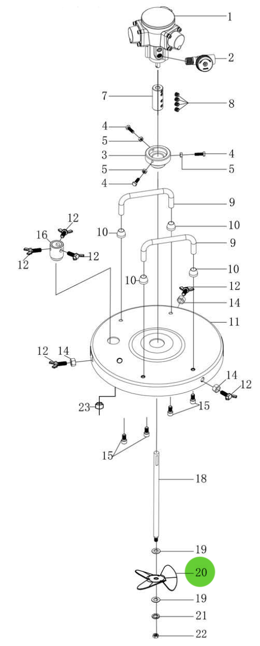
Total Finishing Agitating Rod Blade; For 5 Gallon Agitator
Agitating Rod Blade; For 5 Gallon Agitator
Manufacturer: Total Finishing Supplies
Part Number: TFS-AGITATOR-#20
Description: Agitating rod blade, for the TFS 5 Gallon Agitator.
Ref. No. 20
Payment & Security
Payment methods
Your payment information is processed securely. We do not store credit card details nor have access to your credit card information.
