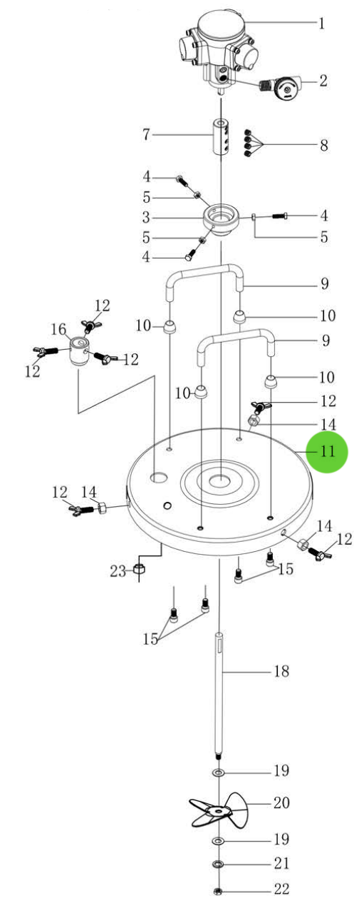
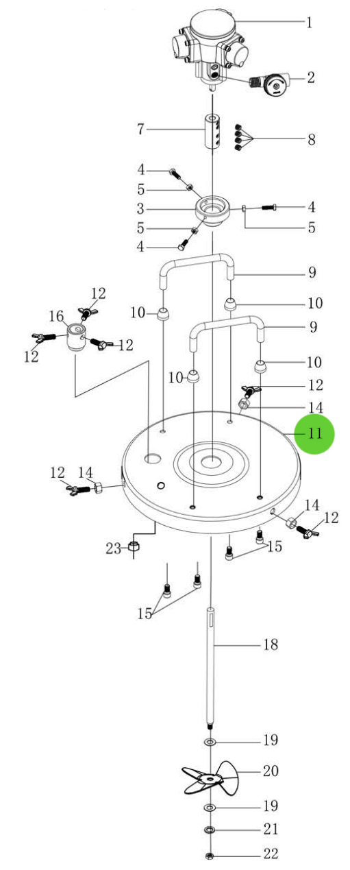
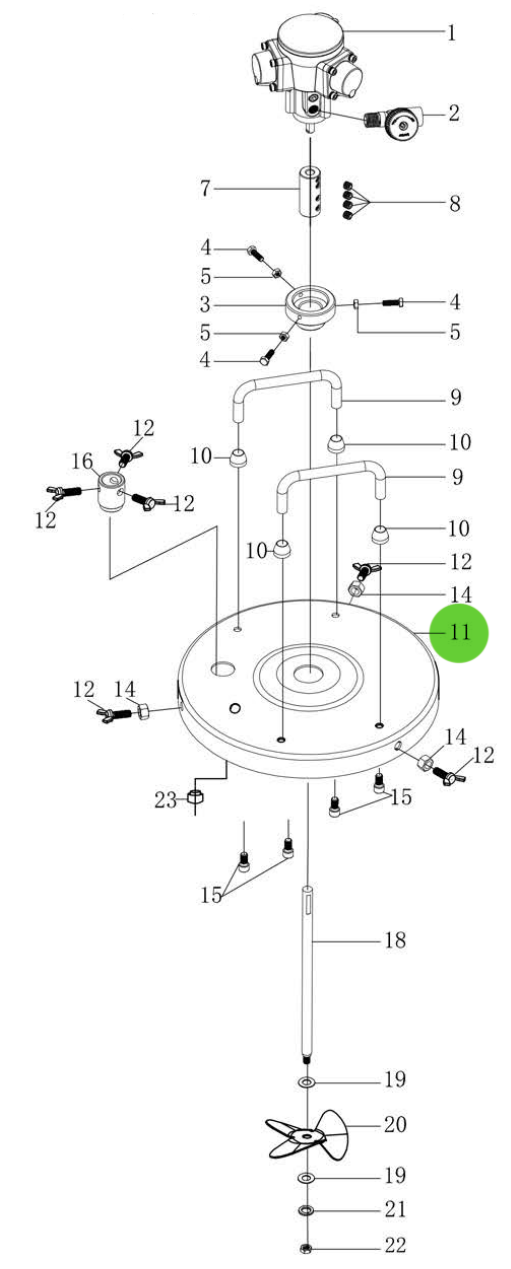
Total Finishing Tank Lid; For 5 Gallon Agitator
Tank Lid; For 5 Gallon Agitator
Manufacturer: Total Finishing Supplies
Part Number: TFS-AGITATOR-#11
Description: Tank lid, for the TFS 5 Gallon Agitator.
Ref. No. 11
Payment & Security
Payment methods
Your payment information is processed securely. We do not store credit card details nor have access to your credit card information.
            