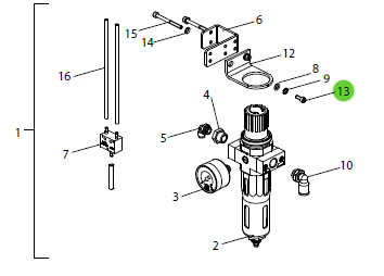
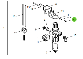
Wagner 3067610 Hexagon Socket Head Cap Screw
Hexagon Socket Head Cap Screw
Manufacturer: Wagner
Part Number: 3067610
Description: Hexagon Socket Head Cap Screw
Ref. No. 13
Payment & Security
Payment methods
Your payment information is processed securely. We do not store credit card details nor have access to your credit card information.
