Binks 1.0 Horsepower Bung Agitator Assembly
Binks 1.0 Horsepower Bung Agitator Assembly
Manufacturer: Carlisle Binks
Part Number: 31-296
Description: 1.0 Horsepower Agitator. Binks Bung Agitators are easy-to-use high torque mixers with collapsible blades allowing insertion and extraction through the standard 2-in. bung in closed-top 55 gallon containers. During rotation, centrifugal force causes the blades to open.
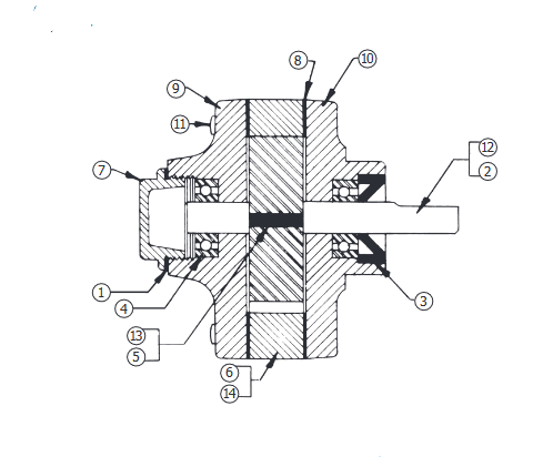
Spare Parts
|
Part # |
Description |
Quantity |
Item # |
|
20-1076 |
Set Screw |
6 |
1 |
|
20-3344 |
Set Screw |
2 |
2 |
|
20-6781 |
Pin |
8 |
3 |
|
31-9 |
Coupling |
1 |
4 |
|
31-291 |
Adapter |
1 |
5 |
|
31-292 |
Shaft |
1 |
6 |
|
57-13-1 |
Nipple |
1 |
7 |
|
73-159 |
Air Valve |
1 |
8 |
|
83-1527 |
Muffler |
1 |
9 |
|
83-2815 |
Air Motor, 1HP |
1 |
10 |
|
149-844 |
Blades |
8 |
11 |
|
149-851 |
Hub & Paddle Assembly |
2 |
12 |
Air Motor Assembly Spare Parts
|
Part # |
Description |
Quantity |
Item # |
|
QS-181 |
Gasket |
1 |
1 |
|
37-90 |
Oil Seal |
1 |
3 |
|
37-91 |
Bearing |
2 |
4 |
|
37-92 |
Vane |
4 |
5 |
|
37-337-5 |
Gasket, End Cap |
2 |
8 |
|
37-482 |
Rotor |
1 |
12 |
|
37-484 |
Vane |
4 |
13, 14 |
Payment & Security
Payment methods
Your payment information is processed securely. We do not store credit card details nor have access to your credit card information.


